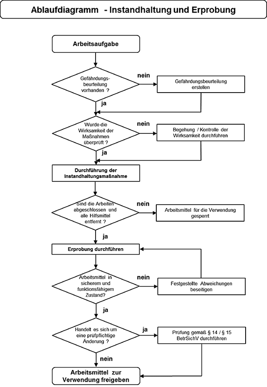
Anhang 1

Ablaufdiagramm – Instandhaltung und Erprobung